|
應用 鎧裝熱電阻價格
|
|
|
鎧裝熱電阻通常和顯示儀表、記錄儀表等配套使用。直接精確測量各種生產過程中的-200~500℃范圍內液體、蒸汽和氣體介質以及固體表面溫度。
|
|
|
特點
|
|
●熱響應時間少,減小動態誤差;
●直徑小、長度不受限制;
●測量精確度高;
●進口薄膜電阻元件,性能可靠穩定。
|
|
工作原理 鎧裝熱電阻價格
|
|
鎧裝熱電阻是利用物質在溫度變化時,其電阻也隨著發生變化的特征來測量溫度的。當阻值變化時,工作儀表便顯示出電阻所對應的溫度值。
|
|
主要技術參數
|
|
IEC751 IEC1515 JB/T8623-1997 JB/T8622-1997
●鎧裝熱電阻保護帶直徑及材料
|
|
引線形式
|
套管直徑
|
套管材質
|
|
Pt100
|
|
單支式
|
Φ2
|
1Cr18Ni9Ti
|
|
Φ3
|
|
Φ4
|
|
Φ5
|
|
Φ6
|
|
Φ8
|
|
雙支式
|
Φ3
|
|
Φ4
|
|
Φ5
|
|
Φ6
|
|
Φ8
|
|
|
●測溫范圍及允差
|
|
|
型號
|
分度號
|
測溫范圍℃
|
精度等級
|
允差
|
|
HD-WZPK
|
Pt100
|
-200~+500
|
A級
|
±(0.15+0.002|t|)
|
|
B級
|
±(0.30+0.005|t|)
|
|
|
注:t為感溫元件實測溫度值
●常溫絕緣電阻
熱電阻在環境溫度為15~35℃,相對濕度不大于80%,試驗電壓為10~100V(直流)電極與外套管之間的絕緣電阻≥100MΩ。
● 熱響應時間
|
|
套管直徑
|
熱響時間τ0.5S
|
|
Φ3
|
≤3
|
|
Φ4
|
≤5
|
|
Φ5
|
≤6
|
|
Φ6
|
≤8
|
|
Φ8
|
≤10
|
|
|
●測量端結構形式
|
|
|
|
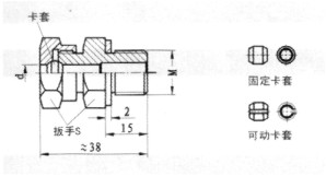
●安裝固定形式
卡套螺紋接頭
|
|
代號和尺寸
|
鎧裝偶外徑
|
|
Φ8
|
Φ6
|
Φ5
|
Φ4
|
Φ3
|
Φ2
|
|
M
|
M16×1.5
|
M12×1.5
|
|
S
|
22
|
19
|
|
|
|
|
代號和尺寸
|
鎧裝偶外徑
|
|
Φ8
|
Φ6
|
Φ5
|
Φ4
|
Φ3
|
Φ2
|
|
D
|
Φ60
|
Φ50
|
|
D0
|
Φ42
|
Φ36
|
|
D1
|
Φ24
|
Φ20
|
|
S
|
22
|
19
|
|
d0
|
Φ9
|
Φ7
|

帶補償導線式
|
|
|
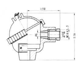
●接線盒形式
|
|
|
|
型號及規格
|
|
|
HD-W
|
溫度儀表
|
|
|
|
|
|
|
|
|
|
|
|
|
|
|
|
|
|
|
|
|
|
|
|
|
|
|
|
|
|
|
|
|
|
|
|
|
|
|
Z
|
熱電阻
|
|
|
|
|
|
|
|
|
|
|
|
|
|
|
|
|
|
|
|
|
|
|
|
|
|
|
|
|
|
|
|
|
|
|
|
|
P
|
感溫元件材料
|
|
|
|
|
|
|
|
|
|
|
|
|
|
|
|
|
|
|
|
|
|
|
|
|
|
|
|
|
|
|
|
|
|
|
K
|
鎧裝式
|
|
|
|
|
|
|
|
|
|
|
|
|
|
|
|
|
|
|
|
|
|
|
|
|
|
|
|
|
鉑熱電阻元件
|
|
無
2
|
單支
雙支
|
|
|
|
|
|
|
|
|
|
|
|
|
|
|
|
|
|
|
|
|
|
|
|
|
|
安裝固定形式
|
|
1
2
3
4
5
|
無固定裝置
固定卡套螺紋
活動卡套螺紋
固定卡套法蘭
活動卡套法蘭
|
|
|
|
|
|
|
|
|
|
|
|
|
|
|
|
|
|
|
|
接線盒形式
|
|
2
3
6
7
9
|
防噴式
防水式
圓接插式
扁接插式
補償導線式
|
|
|
|
|
|
|
|
|
|
|
|
|
保護管直徑
|
|
3
4
5
6
8
|
Φ3
Φ4
Φ5
Φ6
Φ8
|
|
|
|
|
|
|
|
|
|
|
|
|
|
HD-W
|
Z
|
P
|
K
|
2 -
|
2
|
3
|
4
|
|
典型型號示例
|
|
|
|
|
|
選型須知
|
|
|
1)型號
2)分度號
3)精度等級
4)安裝固定形式
5)長度或插入長度
例A:鎧裝熱電阻,Pt100型,I級,固定螺紋M16×1.5,長度450mm,插入長度300mm。HD-WZPK-220,Pt100,L=450×300,I級,M16×1.5。
|